Magnetický upínač WALMAG NEOMICRO 150x300 nabízí upínací plochu 150 x 300 mm, jemné pólování a mechanické ovládání pro přesné uchycení obrobků při broušení a frézování.
Doporučený minimální rozměr obrobku [mm]: 4 x 4 x 1
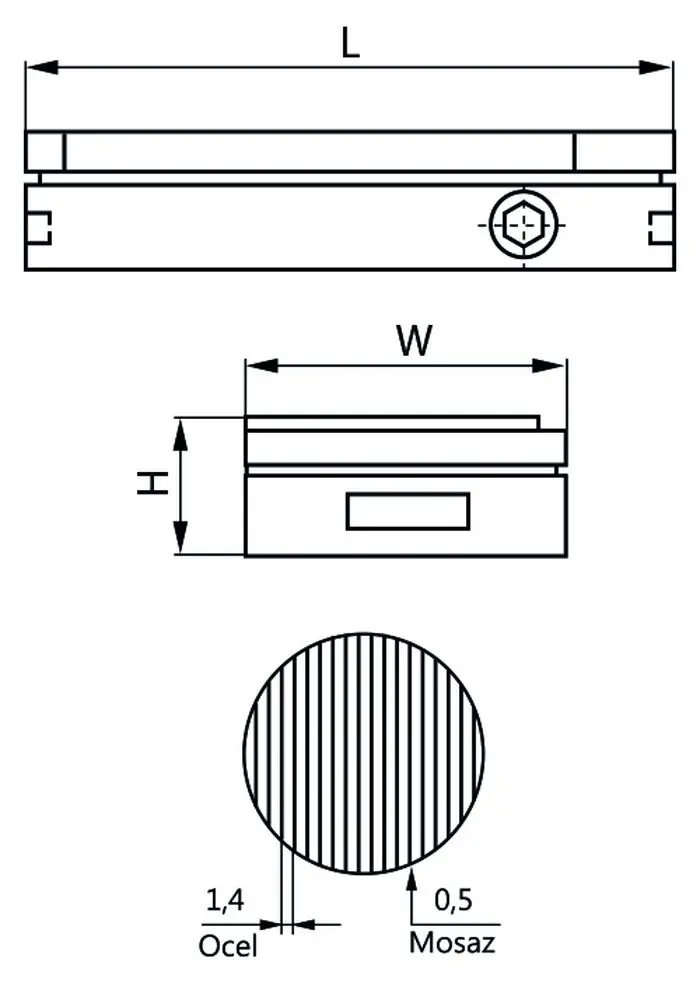
Rozměry [mm]: 150 x 300 x 51
Hmotnost [kg]: 18
Upínače WALMAG NEOMICRO v sobě spojují vysokou kvalitu a příznivou cenu. Tyto upínače se obzvláště hodí k přesnému broušení jak malých a tenkých, tak velkých a hrubých obrobků.
VYSOCE PŘESNÉ BROUŠENÍ - Robustní konstrukce s výjimečnou upínací silou umožňují upínání bez deformací obrobku
EXTRÉMNÍ STABILITA - Upínače NEOMICRO jsou navrženy tak, aby jako celek tvořily tuhou konstrukci. Pólová deska, rám a tělo magnetu jsou pevně mechanicky i magneticky spojeny a tím je docílena vysoká stabilita a přesnost upínače
VYSOKÁ UPÍNACÍ SÍLA
- Duální Neodymiový magnetický systém generuje až 130 N.cm-2 upínací síly, což je o 60 procent více než u klasického upínače s mikro pólováním
- Výjimečně vysoká upínací síla zajišťuje, že je obrobek pevně upnut i při plně využitém povrchu upínače. Upínací síla zůstane vysoká i po 100 000 zapnutí upínače
OPRAVDU UNIVERZÁLNÍ UPÍNAČ - Unikátní mikropólování upínače umožňuje upnutí širokého spektra obrobků různých velikostí a tloušťek
DLOUHÁ ŽIVOTNOST - Je zaručena pevnou pólovou deskou, která může být mnohokrát zbroušena, navíc jsou všechny pohyblivé součástky utěsněny proti vlhkosti
Konstrukce
Pevná pólová deska s příčným pólováním, pólovou roztečí 1,4 mm oceli a 0,5 mm mosazi
Životnost (limit přebroušení): 7 mm
Duální Neodymiový magnetický systém, nominální upínací síla 100 N.cm-2
Pevná ocelová základna s robustním přepínacím mechanismem
Vodotěsná konstrukce
Dostupné i v nerezové oceli (Stainless steel) – vysoká odolnost proti opotřebení
Aplikace
Přesné broušení malých a tenkých, stejně tak jako velkých dílců
Doporučený minimální rozměr obrobku 4x4x1 mm
EDM s možností ponoření do di elektrické kapaliny
Součásti dodávky magnetické upínací desky
Zadní a boční dorazy
Sada upínek
Inbusový klíč
Produkt doposud nikdo nehodnotil.
Hodnocení odeslané
Po schválení obsahu bude zobrazeno u produktu.
Požadavek nemůže být momentálně odeslán. Zkuste to znovu později.
Chcete nám něco sdělit o našich produktech nebo e-shopu? Neváhejte napsat.
Soubory cookie používáme ke shromažďování a analýze informací o výkonu a používání webu, zajištění fungování funkcí ze sociálních médií a ke zlepšení a přizpůsobení obsahu a reklam.
Soubory cookie používáme ke shromažďování a analýze informací o výkonu a používání webu, zajištění fungování funkcí ze sociálních médií a ke zlepšení a přizpůsobení obsahu a reklam.
Pro zobrazení tohoto obsahu potřebujeme váš souhlas!
Tento obsah může shromažďovat údaje o vašich aktivitách. Pokud si přejete zobrazit obsah je potřeba vyjádřit souhlas.